什么是温度/湿度组合循环试验设备的检定步骤
一、检定步骤:
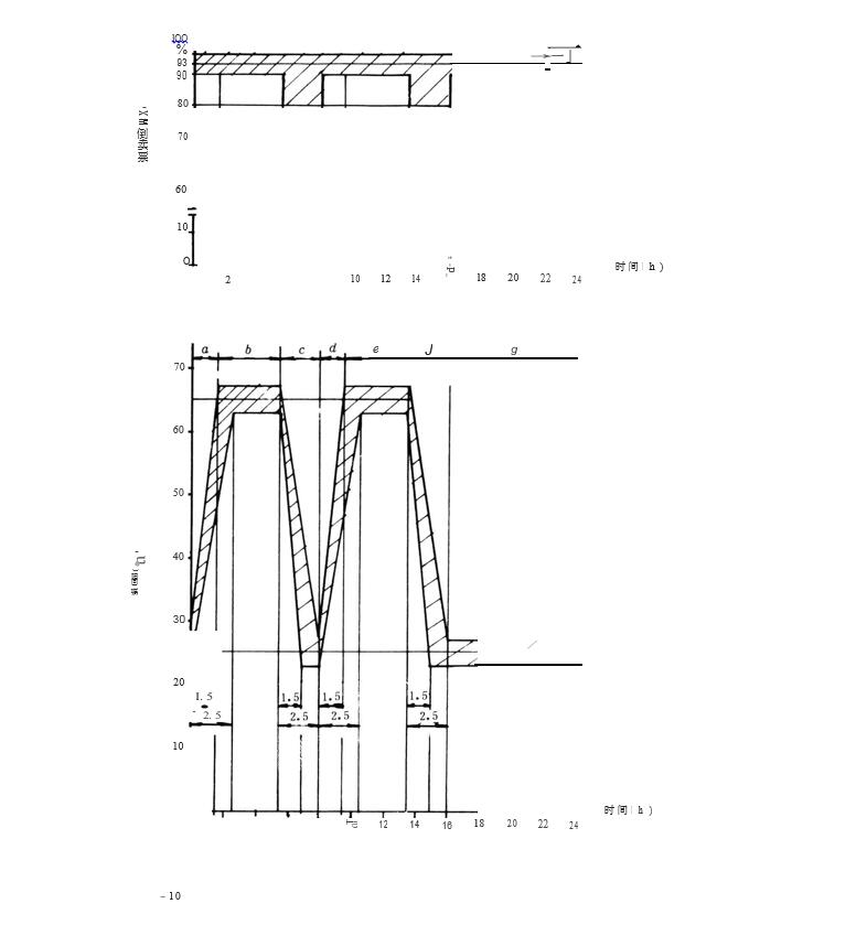
1、一箱法的试验设备按图3的规定程序和1要求在高温和低温之间循环变化。

一箱法试验设备见图4的规定程序和要求在高温和低温之间循环变化 。

2、在升降阶段,每5min测试1的温度值 。
3、数据和结果分析:
3.1将测试的温度值投其各自的修正值)以修正,并查出相对限度。
3.2根据测试结果因出相对程度和升降温曲线图,相对温度和升降温曲线, 4 箱 法应符合图3的规定和要求,应符合图4的规定和要求。
3.3 箱内的民验设备应进行此项恰定;
3.4本测出在空载条件下进行;
上一篇:解析:温度/湿度组合循环试验设备的检定方法
下一篇:中创分享:高温拉伸试验方法的试验方法(上)